Část 4.
… Jak se honila Liška …
Technika
Vysílač
Pojďme se nyní podívat, čím dokázal Ústřední radioklub Svazarmu potěšit – nebo spíše překvapit – nás, liškaře, na počátku sedmdesátých let.
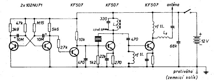
Začněme vysílačem. Šlo o bytelnou krabičku z ocelového plechu – skutečně robustní konstrukci, která bez mrknutí oka přežila i velmi nešetrné zacházení, včetně neúmyslného našlápnutí plnou vahou. Uvnitř se ukrývaly tři klasické ploché baterie a jednoduchá elektronika. Ovládací prvek byl jediný – vypínač. Vysílač pracoval na krystalem řízeném kmitočtu v pásmu 80 metrů a po zapnutí trvale vysílal přerušovanou nosnou vlnu, a to buď v rytmu teček, nebo čárek. Anténu tvořil přibližně šestimetrový kus černého flexo vodiče, přičemž stejným kabelem byla realizována i protiváha, která se rozložila po zemi. Připojení bylo řešeno obyčejnými banánky. Díky své nenápadnosti šel vysílač v běžném terénu zamaskovat tak dokonale, že nebyl vidět ani z několika metrů. Spotřeba energie byla natolik nízká, že baterie zpravidla nevybila samotná činnost zařízení, ale rozpadly se dříve v důsledku chemické degradace.

Čelní pohled na vysílač

Elektrinika - deska vysílací části

Sem se připojovaly tři ploché baterie

Schéma vysílače
Technika
Přijímač
Součástí výbavy byly i přijímače – opět jednoduché konstrukce. Jednalo se o přímosměšující přijímač postavený na tranzistorech OC170 a klasickém směšovači ze čtyř diod OA9. Anténu představovala kombinace feritové tyčky, známé z běžných rozhlasových přijímačů, a všesměrové antény vyrobené z výpletového drátu z jízdního kola. Tato kombinace umožňovala získat směrové charakteristiky ve tvaru osmičky (při použití pouze feritu) a přibližnou kardioidu, která pomáhala s hrubou orientací. Ač konstrukce působila spartánsky, směrové vlastnosti byly překvapivě velmi dobré.
Přijímač se ladil jednoduše – díky jeho úzkopásmovosti stačilo doladit oscilátor. Právě zde se však skrýval první zádrhel. Malé ladicí kondenzátory, určené původně pro kapesní tranzistoráky, trpěly absencí mechanické opory pro osu ladění. Často se viklaly, chrastily a měly tendenci samovolně rozlaďovat celé zařízení.
Zbytek přijímače tvořil klasický nízkofrekvenční zesilovač, jehož citlivost určovala zároveň citlivost celého přijímače. Zvuk se poslouchal do starých dobrých vysokoomových sluchátek TESLA – robustních, prověřených a odolných. Napájení obstarávala opět plochá baterie, která díky nízkému odběru vydržela celou řadu závodů. Méně pečlivým uživatelům se však často stávalo, že baterie časem „vytekla“ přímo do přijímače.
Z těchto součástí se sestavovala celá „soutěžní souprava“, která se obvykle ukládala do kufříku od radiostanice RF-11 – dva vysílače, pět přijímačů. Tyto sady byly distribuovány na úroveň okresních organizací, takže téměř každý radioklub měl možnost si s nimi dosyta užít. Tehdy to ještě byl Hon na lišku pro radost – ne to, co se z něj později stalo: vrcholový sport pod zkratkami ROB a ARDF, se vší vážností, ambicemi a bohužel i s tím, co k profesionálnímu sportu často patří – včetně nepříjemných stránek.

Pohled na přijímač

Deska plošného spoje zezadu

Deska plošného spoje zepředu

Deska plošného spoje zepředu i s prostorem pro baterii
Pravidla
